Hydraulic Tank Drain Valve, Brass Body
- Forged brass body
- Aluminum cast butterfly wing handle, brown color
- PTFE ball seats
- Working Pressure: 250 PSI
- Temp range: -40℃-108℃
- M22 x 1.5 Male x 5/8" I.D. Hose barb
- Hydraulic oil compatibility with J20C
- Cleanliness per JDG-G169 Class 5.4 1/2mm Max
- Particle size
- Ends to be capped
- Valve to be shipped in closed position
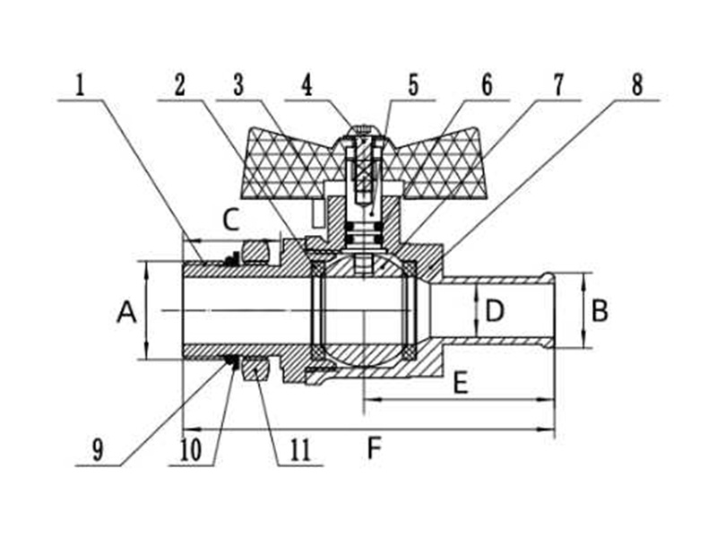
| Part No. | A (In) | B (In) | C (In) | D (In) | E (In) | F (In) | Carton Qty. | Wt. (lbs.) |
| BHV-1 | M22*1.5 | 5/8" | 0.86 | 0.47 | 1.68 | 3.28 | 80 | 0.52 |
| Part No. | Description | Material |
| 1 | Valve Cap | Brass |
| 2 | Ball Seats | PTFE |
| 3 | Handle | Aluminum ,Brown |
| 4 | Screw & Spring Washer & Flat Washer | Steel |
| 5 | Valve Stem | Brass |
| 6 | O Ring | NBR |
| 7 | Ball | Brass |
| 8 | Valve Body | Brass |
| 9 | O Ring | NBR |
| 10 | Washer | Copper |
| 11 | Nut | Brass |
Intech Manufacturing is a professional manufacturer of standard and custom valves, couplings and fittings, machining parts, plastic parts, and rubber parts, etc. We can provide custom products made from stainless steel, brass, bronze, carbon steel, aluminum, and plastic. Besides manufacturing, we also offer business sourcing for any valves, fittings, hoses or machining parts that we do not make at home location. In accordance to your special needs, we can provide customized one-stop solutions for you.